경계측량
현장에서 공사를 수행하기에 앞서 공사 대지에 대한 경계측량을 시행하여 대지의 경계를 명확히 하고, 설계도면의 배치도와 실제 대지가 일치하는지 확인을 실시한다. 이는 공사 준공과 밀접한 관계가 있으므로 신중을 기해야 한다.
측량은 관할지역 국토정보공사(지적공사)에 신청하여 실시하게 되며, 측량과정에서 인접 대지의 주인과 해당 공사의 건축주, 감독자, 감리자 등을 입회시켜 명확히 하여야 한다.

현황측량(현상측량)
지적공사에서 시행하는 현황측량과는 다르게 측량전문 용역업체에 의하여 시행하는 것으로서 대지의 고저, 지상물의 현황, 그리고 인접건물과의 이격거리 등을 명확히 하여 공사 계획 시에 토공량의 산출과 기준점(bench mark)의 확정 등을 위해서 실시한다.
| 구 분 | 설 명 |
| 경계복원측량 | - 지적 공부상에 등록된 경계를 지표상에 복원하는 측량으로 경계점 표지설치를 의무화하고 있음 - 건축물을 신축, 증축, 개축하거나 인접한 토지와의 경계를 확인하고자 할 때 주로 하는 측량 |
| 현황측량 | - 지상구조물 또는 지형, 지물이 점유하는 위치현황을 지적도 또는 임야도에 등록된 경계와 대비하여 그 관계 위치를 표시하기 위한 측량. 건축물을 신축하고 준공검사를 신청할 때 주로 하는 측량. |
| 분할측량 | - 지적공부에 등록된 한 필지의 토지를 두 필지 이상으로 나누기 위하여 실시하는 측량 - 한 필지 토지를 두 필지 이상으로 나누어서 매매할 때 주로 하는 측량 |
| 등록전환측량 | - 임야대장 및 임야도에 등록된 토지를 토지대장 및 지적도에 등록하기 위한 측량 - 임야대장에 등록된 토지가 형질이 변경되어서 토지대장에 등록하고자할 때 주로 하는 측량 |
| 지적확정측량 | - 지적확정측량은 도시개발사업 등으로 인하여 토지를 구획하고 환지를 완료한 토지의 지번, 지목, 면적 및 경계 또는 좌표를 지적공부에 새로이 등록하기 위하여 실시하는 측량 |
기준점
기준점(bench mark)은 모든 공사 높이의 기준이 되는 것으로 공사 착수 전에 설정하여 공사종료 시까지 존치시켜야 하는 중요한 것이다. 기준점의 위치, 기타 사항은 따로 기록하여 두고, 필요에 따라 보조 기준점을 1~2개소 설치한다. 기준점은 이동 및 변형 등이 없게 그 주위를 감싸는 등 보호조치를 하여하 한다.
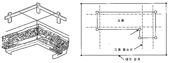
줄 쳐보기(줄 띄우기)
건물의 위치를 정하기 위하여 건물의 외곽선을 따라 말뚝을 박고 줄을 띄우는 것을 줄 쳐보기(줄 띄우기)라고 한다. 이것에 의하여 건물과 도로, 그리고 인접대지 경계선에서의 거리를 검토하고, 이는 또한 규준틀을 설치하기 위한 예비 작업이기도 하다.

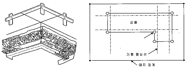
규준틀
규준틀은 건물의 각부 위치 및 높이, 기초의 나비 또는 길이 등을 정확히 결정하기 위한 것이므로 이동이나 변형이 없게 견고하게 설치해야 한다. 수평 규준틀은 규준말뚝과 규준대로 구성되며, 규준대는 규준말뚝에 수평보기나 레벨에 의하여 수평하게 견고하게 설치하고, 규준대에는 벽의 중심, 벽의 폭, 기초폭 등이 표시된다.

규준틀에는 평 규준틀, 귀 규준틀, 그리고 세로 규준틀 등이 있으며, 평 규준틀은 건물의 외곽기둥 중 모서리 기둥(계단실 기타 돌출 부분 포함)을 제외한 매기둥, 옹벽, 기타 주요부 위치에 설치한다. 귀 규준틀은 건물의 외곽 모서리 기둥, 계단실 기타 돌출 부분에 설치한다. 그리고 세로 규준틀은 내외 내력벽 외 상호 접합부 등에 수직으로 설치하여 벽돌 또는 블록의 단수 등을 표시해야 한다.

기준선 먹매김(먹줄치기)
건물 각 구조부의 위치, 간벽의 분할 배치선, 수직·수평의 기준에 대하여 먹매김 하고, 각 층 각 실 등의 기둥 또는 벽면 등에는 각층 마감기준상단 레벨로부터 1m 선상에 수평 기준선을 먹매김 하여 각종 창호류 및 각 부위별 마감공사 높이의 기준이 되게 한다.

'건축시공 > 가설공사' 카테고리의 다른 글
| 양중 장비 (0) | 2023.01.13 |
|---|---|
| [가설공사] 가설용수 및 가설전기 (0) | 2023.01.12 |
| 비산먼지 발생 원인 및 대책 (0) | 2023.01.12 |
| [가설공사] 가설울타리 및 가설출입문, 가설건물 등 (0) | 2023.01.10 |
| [가설공사] 개요 (0) | 2023.01.09 |